Запасные части ЧТЗ Запасные части ЧТЗ
Архангельск
Например:
Актобе
Алдан
или
Выбрать автоматически
Актобе
Алдан
Алматы
Алчевск
Архангельск
Астана
Астрахань
Атырау
Баку
Балашиха
Барнаул
Белгород
Бердянск
Бишкек
Владивосток
Владикавказ
Воркута
Воронеж
Горловка
Грозный
Донецк
Екатеринбург
Иваново
Ижевск
Иркутск
Казань
Калининград
Каменск-Уральский
Караганда
Каховка
Кемерово
Киров
Комсомольск-на-Амуре
Костанай
Краснодар
Красноярск
Красный луч
Ленск
Луганск
Магадан
Магнитогорск
Макеевка
Махачкала
Мелитополь
Минск
Мирный (Якутия)
Москва
Мурманск
Нерюнгри
Нижневартовск
Нижний Новгород
Нижний Тагил
Новая каховка
Новокузнецк
Новосибирск
Новый Уренгой
Норильск
Ноябрьск
Нур-Султан
Омск
Оренбург
Ош
Павлодар
Пермь
Петрозаводск
Петропавловск
Петропавловск-Камчатский
Псков
Ростов-на-Дону
Салехард
Самара
Санкт-Петербург
Саратов
Севастополь
Семей
Симферополь
Сочи
Ставрополь
Сургут
Сыктывкар
Тараз
Ташкент
Токмак
Томск
Тында
Тюмень
Ульяновск
Усинск
Усть-Каменогорск
Уфа
Хабаровск
Ханты-Мансийск
Херсон
Челябинск
Чита
Шымкент
Экибастуз
Энергодар
Южно-Сахалинск
Якутск
Ваш город
Архангельск
Войти
Запасные части к тракторам на одном сайте
+7 (932) 303-00-10
+7 (932) 303-00-10
г. Архангельск, Талажское шоссе, д. 4
Пн-Пт: 9:30-18:30 Cб-Вс: Выходной
Отправить заявку


Ремонт гусеницы Т-170 Б-170 трактора в Архангельске


/
с НДС 20%
Описание

Снятие гусеницы Т-170

Предупреждение: при отворачивании пробки 2 ( см. рис. 295 ) механизма натяжения не проверяйте визуально выход смазки из отверстия и не выворачивайте полностью пробку. В полости цилиндра смазка находится под высоким давлением.

Звено гусеницы с замыкающим пальцем

Рис. 272. Звено гусеницы с замыкающим пальцем

Замыкающий палец 2 ( рис. 272 ) на гусенице имеет конусные стопоры с обеих сторон. Установите трактор так, чтобы замыкающий палец оказался впереди и немного ниже оси натяжного колеса. Ослабьте натяжение гусеницы, вывернув пробку 2 ( см. рис. 295 ) механизма натяжения на 3...4 оборота. Снимите со звеньев, соединенных замыкающим пальцем, два башмака ( см. рис. 272 ). Выньте пробки 1 из отверстий конусных стопоров замыкающего пальца.

Конус стопорный

Рис. 273. Конус стопорный

Очистите в стопорах 1 резьбовые отверстия ( рис. 273 ).

Съемник для выпрессовки стопорных конусов

Рис. 274. Съемник для выпрессовки стопорных конусов

Выпрессуйте конусные стопоры из замыкающего пальца при помощи специального съемника ( рис. 274 и 275 ) и выбейте замыкающий палец из звеньев гусеницы. Медленным движением трактора назад разложите на земле гусеницу, не съезжая с нее. Выньте из замыкающих звеньев шайбы.

Выпрессовка стопорного конуса

Рис. 275. Выпрессовка стопорного конуса

В таком положении ремонтируйте гусеницу, заменяйте пальцы, втулки и звенья. При замене гусеницы впритык к ней уложите новую или отремонтированную и сведите на нее трактор своим ходом.

При наличии подъемных средств гусеницу для ремонта и замены удалите из-под трактора. Ремонтируйте и заменяйте гусеницу только при исправном тракторе.

Разборка гусеницы Т-170

Для разборки гусеницы пользуйтесь специальным гидравлическим прессом, так как пальцы и втулки запрессованы в звенья усилием 500 кН (50 тс).

Не разбирайте гусеницы вручную, так как при выбивании пальцев кувалдой неизбежно их повреждение. Перепрессовывайте втулки, пальцы гусеницы только в мастерской, где есть гидравлический пресс с усилием не менее 500 кН (50 тс). Уложите гусеницу башмаками вверх. Отверните болты с гайками и снимите башмаки гусеницы.

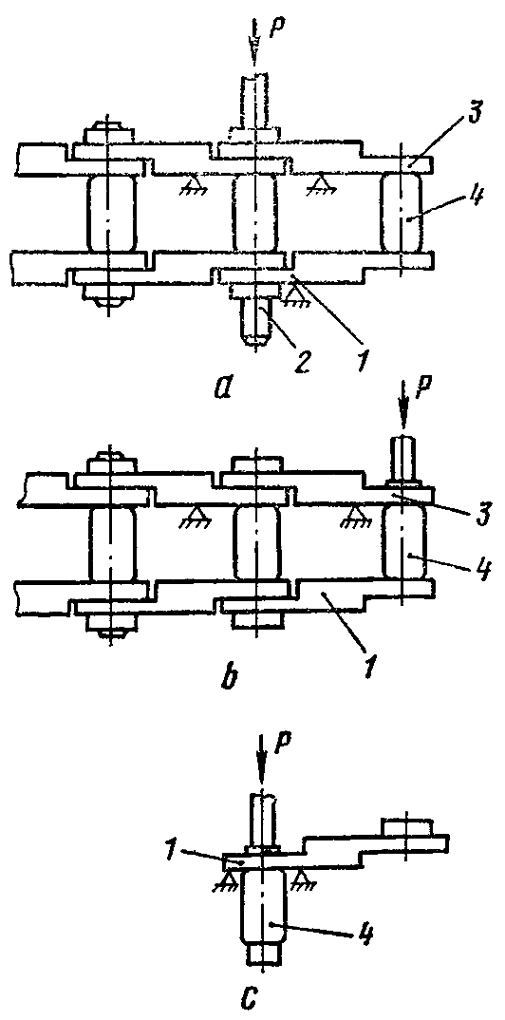
Схема разборки гусеницы

Рис. 276. Схема разборки гусеницы

Установите гусеничную ленту на приспособление пресса (рис. 276, а). Выпрессуйте палец 2, соседний с замыкающей втулкой 4. Выпрессуйте замыкающую втулку 4 (рис. 276, b) вместе со звеном 1 и снимите звено 3. Установите звено 1 ( рис. 276, c) с замыкающей втулкой 4 под пресс и выпрессуйте замыкающую втулку 4. Аналогично разъедините остальные пары звеньев. Допустимая высота звена с износом беговой дорожки 117,5 мм. Предельная высота 110,0 мм. Допускаемые сколы на концах башмака площадью не более 2000 мм².

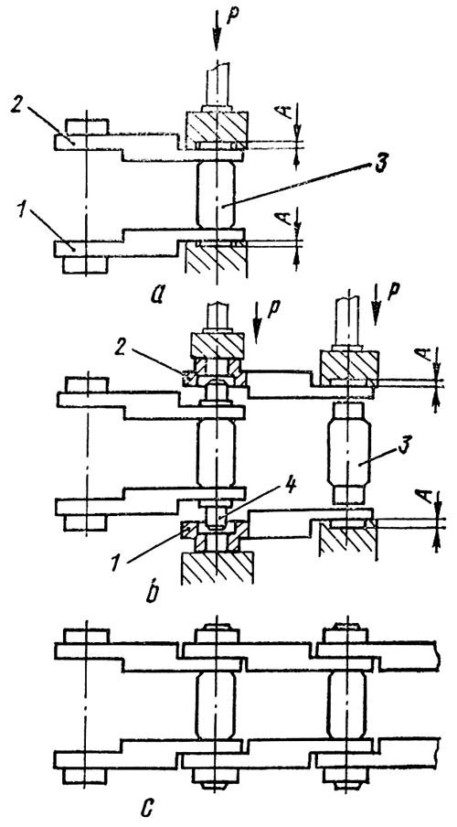
Сборка гусениц Т-170

Схема сборки гусеницы

Рис. 277. Схема сборки гусеницы

Установите левое 1 ( рис. 277, а ) и правее 2 звенья на приспособление пресса и Между ними поставьте втулку 3. Напрессуйте звенья на втулку. Торцы втулок должны выступать на размер А= (13,5±0,1) мм. Вставьте палец 4 ( рис. 277, b ) во втулку. Приставьте к торцам пальца звенья левое 1 и правое 2 и между ними поставьте следующую втулку 3. Напрессуйте двухштоковым прессом оба звена на палец и втулку ( рис. 277, с ). Аналогично собирайте последующие пары звеньев. При сборке тридцать восьмой последней пары установите замыкающую втулку, которая короче остальных на 27 мм..Торцы замыкающей, втулки не должны выступать над плоскостью звена. Установите на звенья 38 башмаков и закрепите каждый башмак четырьмя болтами с гайками. Момент затяжки болтов 500...550 Н-м (50...55 кгс-м). При несовпадении отверстий в звеньях и башмаках под болты разверните отверстия на диаметр 20,4±0,28 мм.

Установка асфальтоходных башмаков и шпор для ледяных дорог

Рис. 278. Установка асфальтоходных башмаков и шпор для ледяных дорог

Для движения по асфальтированным дорогам наденьте башмаки 1 ( рис. 278 ), а по ледяным дорогам шпоры 2.

Установка гусениц Т-170

Распустите неисправную гусеницу. Впритык к ней разложите гусеницу, подлежащую установке, по земле сзади трактора, замыкающей втулкой вперед. Подложите упор под задний башмак гусеницы. Установка гусеницы замыкающей втулкой назад не допускается. Пустите трактор медленным задним ходом, заведите его на новую гусеницу так, чтобы ведущее колесо вошло в зацепление с последней втулкой гусеницы. Подложите под передний грунтозацеп гусеницы упор, для того чтобы передние звенья приподнялись и охватили часть обода натяжного колеса. Вставьте в гнезда замыкающих звеньев смазанные солидолом шайбы. С помощью лома, вставленного в отверстия замыкающих звеньев, при медленном движении трактора вперед заводите гусеницу на ведущее колесо, затем на поддерживающие катки и натяжное колесо до входа замыкающей втулки в замыкающие звенья.

Если на трактор устанавливается новая гусеница, которая плохо сгибается в шарнирах, ударяйте кувалдой по башмакам, чтобы гусеница полностью обогнула ведущее и натяжное колеса и вошла замыкающей втулкой в замыкающие звенья гусеницы.

Совместите конечные звенья гусеницы и забейте замыкающий палец 2 ( см. рис. 272 ). Замыкающий палец гусеницы входит в отверстия звеньев от ударов кувалды, а натяг создается установкой конусного стопора. Посадите в замыкающий палец 2 два конусных стопора заподлицо с торцом пальца и вставьте в них пробки 4. Натяните гусеницу с помощью механизма натяжения, для чего плотно затяните пробку механизма натяжения и через масленку рычажно-плунжерным шприцем заполните солидолом полость цилиндра механизма натяжения.

Проверьте величину натяжения гусеницы, замеряя провисание гусеничной цепи. Величина провисания цепи, замеренная на участке между осями поддерживающих катков, должна находиться в пределах 30...50 мм. Равномерное натяжение гусеницы достигается за счет движения трактора взад и вперед. Вторично проверьте регулирование натяжения гусеницы. Обкатайте трактор с новой гусеницей без нагрузки в течение 1 часа с последующей проверкой и регулированием при необходимости натяжения гусеницы.

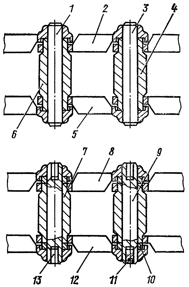
Замена звена и втулки гусеницы Т-170

Замена звена и втулки гусеницы

Рис. 279. Замена звена и втулки гусеницы

При замене звена или втулки выполните следующие операции:

  • снимите три башмака со звеньев, подлежащих замене, и звеньев, прилегающих к ним слева и справа;

  • выпрессуйте пальцы 1 и 3 ( рис. 279 );

  • разрежьте газовой резкой звенья 2 и 5 посередине и втулку 6 в двух местах около звеньев;

  • удалите части звеньев и втулки;

  • срежьте газовой резкой заподлицо с поверхностью звена выступающие концы втулки 4, зачистите срезы;

  • подберите пару новых звеньев (левое и правое) так, чтобы они по высоте отличались от звеньев гусеницы не более 2 мм;

  • напрессуйте на новую замыкающую втулку 7 подобранные звенья 8 и 12. Выступание торцов втулки 7 из звеньев 8 и 12 не допускается;

  • установите новые звенья 8 и 12 с втулкой 7 в гусеницу вместо удаленных, предварительно заложив в гнезда звеньев новые шайбы 10;

  • установите замыкающие пальцы 9, конусные стопоры 13 и пробки 11, снятые башмаки.

Заменяйте втулку аналогично.

Ремонт гусеницы