Запасные части ЧТЗ Запасные части ЧТЗ
Архангельск
Например:
Актобе
Алдан
или
Выбрать автоматически
Актобе
Алдан
Алматы
Алчевск
Архангельск
Астана
Астрахань
Атырау
Баку
Балашиха
Барнаул
Белгород
Бердянск
Бишкек
Владивосток
Владикавказ
Воркута
Воронеж
Горловка
Грозный
Донецк
Екатеринбург
Иваново
Ижевск
Иркутск
Казань
Калининград
Каменск-Уральский
Караганда
Каховка
Кемерово
Киров
Комсомольск-на-Амуре
Костанай
Краснодар
Красноярск
Красный луч
Ленск
Луганск
Магадан
Магнитогорск
Макеевка
Махачкала
Мелитополь
Минск
Мирный (Якутия)
Москва
Мурманск
Нерюнгри
Нижневартовск
Нижний Новгород
Нижний Тагил
Новая каховка
Новокузнецк
Новосибирск
Новый Уренгой
Норильск
Ноябрьск
Нур-Султан
Омск
Оренбург
Ош
Павлодар
Пермь
Петрозаводск
Петропавловск
Петропавловск-Камчатский
Псков
Ростов-на-Дону
Салехард
Самара
Санкт-Петербург
Саратов
Севастополь
Семей
Симферополь
Сочи
Ставрополь
Сургут
Сыктывкар
Тараз
Ташкент
Токмак
Томск
Тында
Тюмень
Ульяновск
Усинск
Усть-Каменогорск
Уфа
Хабаровск
Ханты-Мансийск
Херсон
Челябинск
Чита
Шымкент
Экибастуз
Энергодар
Южно-Сахалинск
Якутск
Ваш город
Архангельск
Войти
Запасные части к тракторам на одном сайте
+7 (932) 303-00-10
+7 (932) 303-00-10
г. Архангельск, Талажское шоссе, д. 4
Пн-Пт: 9:30-18:30 Cб-Вс: Выходной
Отправить заявку


Коромысла клапанов и механизм декомпрессора Т-170 Б-170 трактора в Архангельске


/
с НДС 20%
Описание

Снятие и разборка коромысла клапанов Т-170

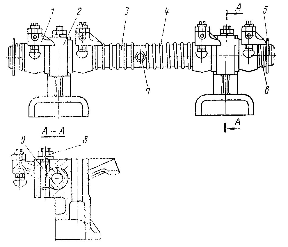
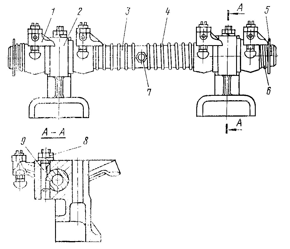
Снятие коромысла клапанов

Установка валиков коромысел
Рис. 49. Установка валиков коромысел

Снимите заднюю крышу капота. Отверните гайки 2 (рис. 49) и снимите колпаки 1 головок цилиндров. Отсоедините трубки 5 подвода масла от штуцеров 6 валиков коромысел. Отверните со шпилек гайки 3 крепления стоек коромысел и снимите стойки 4 вместе с валиками и коромыслами. После снятия коромысел клапанов снимите штанги толкателей и штанги декомпрессора.

Разборка коромысла клапанов

Валик коромысел в сборе
Рис. 50. Валик коромысел в сборе

Отверните и снимите с валика коромысел штуцер 7 (рис. 50) для подвода смазки. Расшплинтуйте концы валиков и снимите с них концевые шайбы 5 и пружины 6. Снимите крайние коромысла 1. Отверните гайки 8 стопоров валика в стойках коромысел и выньте стопоры 9 из стоек. Снимите с валиков 3 стойки 2 коромысла клапанов и пружину 4.

Коромысло клапана в сборе
Рис. 51. Коромысло клапана в сборе

Отверните гайку 2 (рис. 51) регулировочного винта и выверните из коромысла винт 1. Выпрессовывайте втулки 4 из коромысла 3 при предельном износе внутренней поверхности втулки или ослаблении ее посадки в отверстии коромысла.

Технические требования на детали коромысел клапанов Т-170

  1. Диаметр валика коромысел 32±0,025 мм.

  2. Диаметр валика коромысел ремонтного размера 31,5±0,025 мм. Номинальные размеры втулки коромысла: наружный диаметр 35±0,151 мм; внутренний диаметр после обработки запрессованной втулки в коромысло 32±0,064 мм. Посадка втулки в отверстие коромысла с натягом 0,085...0,151 мм. Допустимый натяг не менее 0,05 мм. Несовпадение смазочных отверстий втулки с отверстиями коромысла допускается не более 1 мм.

  3. Посадка валика во втулке коромысла с зазором 0,050...0,114 мм. Допустимый зазор 0,150 мм. Предельный зазор 0,35 мм.

  4. Внутренний диаметр втулки ремонтного размера 31,5±0,064 мм. После запрессовки новой (ремонтной) втулки просверлите в ней через маслоподводящие каналы коромысла два отверстия А диаметром 5±0,75 мм.

Сборка и установка коромысел клапанов Т-170

Сборка

Вверните в коромысло 3 клапана регулировочный винт 1 и закрепите его гайкой 2. Регулировочный винт должен бед заеданий вворачиваться в коромысло клапана на всю длину, а гайка должна надежно стопорить его. Проверьте чистоту каналов для подвода смазки в коромыслах и валике.

Запрессуйте в стойки со стороны их опорной поверхности стопоры 9 (см. рис. 50) до выхода резьбового конца на плоскость стойки. Стопоры устанавливайте лычками в сторону валика коромысел.

Зашплинтуйте валик и наденьте на него последовательно шайбу 5, короткую пружину 6, коромысло, стойку, второе коромысло, пружину 4, третье коромысло, стойку, четвертое коромысло, короткую пружину и шайбу. Зашплинтуйте валик с другого конца и окончательно запрессуйте оправкой стопоры в стойки. Стопоры должны сесть в пазы валика коромысел. Наверните на несколько оборотов на стопоры гайки 8 с шайбами.

Вверните в валик штуцер 7 для подвода смазки.

Установка

Установите восемь штанг толкателей в отверстия толкателей и четыре штанги декомпрессора в отверстия головки блока. Установите стойки 4 (см. рис. 49) с валиками и коромыслами в сборе на шпильки так, чтобы регулировочные винты коромысел вошли в чашечки штанг толкателей. Наверните четыре гайки 3 на шпильки и закрепите стойки. Момент затяжки гаек — 155... 195 Н.м (16...20 кгс.м). Затяните гайки стопоров на стойках коромысел. Подсоедините к штуцерам 6 валиков ниппели трубок 5 подвода масла. Касание маслоподводящих трубок о стенки блока и штанги не допускается. Отрегулируйте зазоры в клапанах и механизме декомпрессора. Установите прокладки колпаков, наденьте на шпильки колпаки 1, шайбы и закрепите колпаки гайками 2.

Снятие механизма декомпрессора Т-170

Снимите заднюю крышу капота. Снимите кабину трактора. Снимите колпаки головок цилиндров и валики коромысел в сборе со стойками и коромыслами клапанов. Выньте четыре штанги декомпрессора.

Привод к валику механизма декомпрессора
Рис. 52. Привод к валику механизма декомпрессора
I — вид со стороны рычагов управления; II вид со стороны топливного насоса

Ослабьте стяжной болт 2 (рис. 52) рычага 4 и снимите рычаг с валика 3 декомпрессора. Отверните установочный винт 6, расположенный в передней части блока с правой стороны и фиксирующий в осевом направлении валик декомпрессора.

Механизм декомпрессора
Рис. 53. Механизм декомпрессора

Выньте валик 8 (рис. 53) декомпрессора, вытянув его . из блока назад, в сторону кабины трактора. Для замены подшипника 5 валика декомпрессора снимите переднюю головку цилиндров, отверните два болта 6 крепления подшипника и снимите его с блока дизеля. Выньте, при необходимости замены, сальник 9 из отверстия под валик декомпрессора в заднем торце блока.

Технические требования

  • Посадочный диаметр валика декомпрессора 19±0,140 мм.
  • Посадка валика в отверстиях блока с зазором 0,000 ... 0,192 мм.
  • Допустимый зазор 0,25 мм.
  • Диаметр отверстия в подшипнике под валик 19±0,б5 мм.
  • Посадка валика в отверстии подшипника с зазором 0,065... 0,289 мм.
  • Допустимый зазор 0,4 мм.

Установка механизма декомпрессора Т-170

Установите подшипник 5 валика декомпрессора на плоскость разъема блока с головкой и закрепите его предварительно двумя болтами 6 с замковой пластиной 7 (см. рис. 53). Запрессуйте сальник 9 заподлицо в отверстие под валик декомпрессора с заднего торца блока, если сальник снимался при разборке. Установите шпонку в шпоночный паз валика декомпрессора, валик декомпрессора 8 в блок и подшипник и проверьте легкость вращения валика. Затяните окончательно два болта 6 крепления подшипника. Отогните концы замковой пластины 7 на грани головок болтов. Зафиксируйте валик в осевом направлении, завернув установочный винт 1 с шайбой. После фиксации валик декомпрессора должен легко вращаться в подшипнике.

Установите переднюю головку цилиндров. Установите четыре штанги 4 декомпрессора в сборе с наконечниками 2 и гайками 3 в отверстия головок на валик декомпрессора. Посадите на валик и шпонку рычаг 4 (см. рис. 52) и закрепите его стяжным болтом 2. Установите валик коромысел в сборе со стойками и коромыслами клапанов. Отрегулируйте зазоры клапанов, зазоры в механизме декомпрессора и проверьте величину открытия впускных клапанов при декомпрессии.

Регулирование зазоров в клапанах и механизме декомпрессора Т-170

Снимите колпаки с головок цилиндров. Подтяните гайки крепления стоек валиков коромысел, момент 155.. 195 Н-м (16...20 кгс.м).

Снимите крышку смотрового люка на кожухе маховика. Установите рычаг декомпрессора 1 (см. рис. 52) в положение ПУСК. Введите шестерню механизма включения пускового двигателя в зацепление с венцом маховика дизеля. Включите передачу редуктора пускового двигателя. Поверните механизмом проворачивания коленчатый вал дизеля и установите поршень первого цилиндра в в.м.т. в конце такта сжатия, совместив метку ВМТ1-4Ц с указателем на кожухе маховика. Если дизель установлен на тракторе, для установки поршней в в.м.т. снимите переднюю среднюю панель пола кабины, крышку люка кожуха муфты сцепления и, проворачивая коленчатый вал, совместите метку ВМТ1-4Ц на торце маховика с указателем на кожухе муфты сцепления. Установите рычаг декомпрессора в верхнее РАБОЧЕЕ положение. Оба клапана первого цилиндра, при положении поршня в в.м.т. в конце такта сжатия, должны быть закрыты (коромысла клапанов должны свободно прокачиваться на валиках).

Регулирование зазоров в клапанах и механизме декомпрессора
Рис. 54. Регулирование зазоров в клапанах и механизме декомпрессора

Отрегулируйте в клапанах первого цилиндра с помощью щупа зазор А (рис. 54) между коромыслом 6 и стержнем клапана 7, ослабив контргайку' 4 и вращая регулировочный винт 5. Зазор должен быть 0,25... 0,33 мм для обоих клапанов. После регулирования затяните контргайку и вновь проверьте зазор.

Отрегулируйте, не изменяя положения коленчатого вала, зазор В между хвостовиком коромысла и штангой декомпрессора первого цилиндра, ослабьте контргайку 2 и вращайте наконечник 3 относительно штанги 1 декомпрессора. Зазор должен быть не менее 0,5 мм. При установке рычага декомпрессора в положение ПУСК; клапан должен открываться на 0,7...2,5 мм. После регулирования застопорите наконечник контргайкой и вновь проверьте зазор и величину открытия клапана (ход клапана). Если величину открытия клапана проверить невозможно, "установите рычаг декомпрессора в положение ПУСК и поднимите ломиком короткое плечо коромысла до упора клапана в поршень (поршень находится в в.м.т.). Зазор между хвостовиком коромысла и наконечником штанги декомпрессора должен быть не менее 0,3 мм. Отрегулируйте зазор в клапанах и механизме декомпрессора остальных цилиндров в порядке их работы (1—3—4—2), поворачивая каждый раз коленчатый вал дизеля на пол-оборота.

В необходимых случаях (например, при недостаточном открытии клапанов при декомпрессии) регулируйте величину открытия клапанов изменением длины тяги 5 (см. рис. 52). Максимальная величина открытия клапанов при декомпрессии должна быть не более 2,5 мм для всех четырех цилиндров дизеля. Зазор В (см. рис. 54) в верхнем РАБОЧЕМ положении рычага декомпрессора должен быть не менее 0,5 мм.

Коромысла клапанов и механизм декомпрессора