Запасные части ЧТЗ Запасные части ЧТЗ
Архангельск
Например:
Актобе
Алдан
или
Выбрать автоматически
Актобе
Алдан
Алматы
Алчевск
Архангельск
Астана
Астрахань
Атырау
Баку
Балашиха
Барнаул
Белгород
Бердянск
Бишкек
Владивосток
Владикавказ
Воркута
Воронеж
Горловка
Грозный
Донецк
Екатеринбург
Иваново
Ижевск
Иркутск
Казань
Калининград
Каменск-Уральский
Караганда
Каховка
Кемерово
Киров
Комсомольск-на-Амуре
Костанай
Краснодар
Красноярск
Красный луч
Ленск
Луганск
Магадан
Магнитогорск
Макеевка
Махачкала
Мелитополь
Минск
Мирный (Якутия)
Москва
Мурманск
Нерюнгри
Нижневартовск
Нижний Новгород
Нижний Тагил
Новая каховка
Новокузнецк
Новосибирск
Новый Уренгой
Норильск
Ноябрьск
Нур-Султан
Омск
Оренбург
Ош
Павлодар
Пермь
Петрозаводск
Петропавловск
Петропавловск-Камчатский
Псков
Ростов-на-Дону
Салехард
Самара
Санкт-Петербург
Саратов
Севастополь
Семей
Симферополь
Сочи
Ставрополь
Сургут
Сыктывкар
Тараз
Ташкент
Токмак
Томск
Тында
Тюмень
Ульяновск
Усинск
Усть-Каменогорск
Уфа
Хабаровск
Ханты-Мансийск
Херсон
Челябинск
Чита
Шымкент
Экибастуз
Энергодар
Южно-Сахалинск
Якутск
Ваш город
Архангельск
Войти
Запасные части к тракторам на одном сайте
+7 (932) 303-00-10
+7 (932) 303-00-10
г. Архангельск, Талажское шоссе, д. 4
Пн-Пт: 9:30-18:30 Cб-Вс: Выходной
Отправить заявку


Проверка исправности форсунок


/
с НДС 20%
Описание
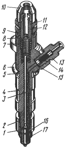
Правильно отрегулированная форсунка должна иметь давление начала впрыскивания топлива 21+0,8 МПа (210+8 кгс/см²). Для проверки форсунки снять с дизеля и установить на стенд для определения качества распыливания и давления начала впрыскивания топлива форсункой.

Если давление начала впрыскивания топлива отличается от указанного выше, снять колпак 10 (см. рис. 13) форсунки, отпустить контргайку 12 регулировочного винта 11 и вращением винта изменить затяжку пружины 7 до получения необходимого давления начала впрыскивания. Форсунка считается исправной, если она распыливает топливо из всех пяти отверстий в виде тумана, без заметных на глаз отдельных капель, сплошных струек и легко различимых местных сгущений.

Впрыскивание топлива должно быть четким и сопровождаться характерным звуком. Перед началом впрыскивания, а также после его окончания появление топлива в виде капли на конце распылителя не допускается. Качество распыливания проверять при частоте 60-80 впрыскиваний в минуту.

При плохом распыливании топлива форсунку разобрать, очистить детали от нагара и промыть. Отверстия в распылителе прочистить иглой. При разборке форсунки для снятия распылителя ослабить пружину 7, вывернув регулировочный винт 11, затем отвернуть гайку 2 распылителя. Если выполненные работы не повысят качество распыливания топлива, заменить распылитель. В случае замены распылителя, перед установкой форсунки в головку проверить биение цилиндрической поверхности распылителя относительно установочной поверхности форсунки. Распылитель должен быть установлен с радиальным биением не более 0,2 мм.

Перед установкой форсунки в головку цилиндров очистить от нагара отверстие под распылитель (диаметр отверстия 10,2-10,3 мм) и подтянуть гайку крепления втулки форсунки моментом.

После установки форсунки в головку и затяжки гайки рычага крепления моментом, проверить выступание распылителя над плоскостью головки (34 мм), зазор между отверстием в головке и распылителем (зазор кругом не менее 0,05 мм проверить щупом).

Проверка давления распыливания топлива по максиметру
Рис. 45. Проверка давления распыливания топлива по максиметру
1-форсунка проверяемая; 2-максиметр; 3-подача топлива от насоса

Проверить давление начала впрыскивания топлива форсункой с помощью максиметра или эталонной форсунки. Для этого проверяемую форсунку 1 (рис. 45) присоединить вместе с максиметром 2 к секции топливного насоса. Остальные три форсунки двигателя снять или отсоединить от секций насоса во избежание впрыска топлива в цилиндры.

Установить максимальную подачу топлива, ослабить пружину максиметра и прокачать топливо, проворачивая коленчатый вал дизеля пусковым двигателем. При этом топливо будет выходить только через максиметр. Затягивая постепенно пружину максиметра, одновременно следить за началом впрыскивания топлива из распылителя форсунки. В момент начала распыливания топлива форсункой шкала максиметра укажет давление, при котором произошло впрыскивание. Если давление начала впрыскивания топлива не соответствует (21+0,8) МПа, то форсунку отрегулировать.

Проверка давления распыливания топлива по эталонной форсунке
Рис. 46. Проверка давления распыливания топлива по эталонной форсунке
1-форсунка эталонная; 2-тройник; 3-топливопровод; 4-секция насоса; 5-форсунка проверяемая

Для проверки давления начала впрыскивания топлива эталонной форсункой присоединить к секции топливного насоса тройник 2 (рис. 46), а к нему проверяемую 5 и эталонную 1 форсунки. После этого прокачать топливо, как указано выше. Исправная форсунка будет распыливать одновременно с эталонной. Если из одной форсунки топливо подается раньше или позже, то испытываемую форсунку отрегулировать.
Проверка исправности форсунок