Запасные части ЧТЗ Запасные части ЧТЗ
Архангельск
Например:
Актобе
Алдан
или
Выбрать автоматически
Актобе
Алдан
Алматы
Алчевск
Архангельск
Астана
Астрахань
Атырау
Баку
Балашиха
Барнаул
Белгород
Бердянск
Бишкек
Владивосток
Владикавказ
Воркута
Воронеж
Горловка
Грозный
Донецк
Екатеринбург
Иваново
Ижевск
Иркутск
Казань
Калининград
Каменск-Уральский
Караганда
Каховка
Кемерово
Киров
Комсомольск-на-Амуре
Костанай
Краснодар
Красноярск
Красный луч
Ленск
Луганск
Магадан
Магнитогорск
Макеевка
Махачкала
Мелитополь
Минск
Мирный (Якутия)
Москва
Мурманск
Нерюнгри
Нижневартовск
Нижний Новгород
Нижний Тагил
Новая каховка
Новокузнецк
Новосибирск
Новый Уренгой
Норильск
Ноябрьск
Нур-Султан
Омск
Оренбург
Ош
Павлодар
Пермь
Петрозаводск
Петропавловск
Петропавловск-Камчатский
Псков
Ростов-на-Дону
Салехард
Самара
Санкт-Петербург
Саратов
Севастополь
Семей
Симферополь
Сочи
Ставрополь
Сургут
Сыктывкар
Тараз
Ташкент
Токмак
Томск
Тында
Тюмень
Ульяновск
Усинск
Усть-Каменогорск
Уфа
Хабаровск
Ханты-Мансийск
Херсон
Челябинск
Чита
Шымкент
Экибастуз
Энергодар
Южно-Сахалинск
Якутск
Ваш город
Архангельск
Войти
Запасные части к тракторам на одном сайте
+7 (932) 303-00-10
+7 (932) 303-00-10
г. Архангельск, Талажское шоссе, д. 4
Пн-Пт: 9:30-18:30 Cб-Вс: Выходной
Отправить заявку


Бак топливный ПК46


/
с НДС 20%
Описание
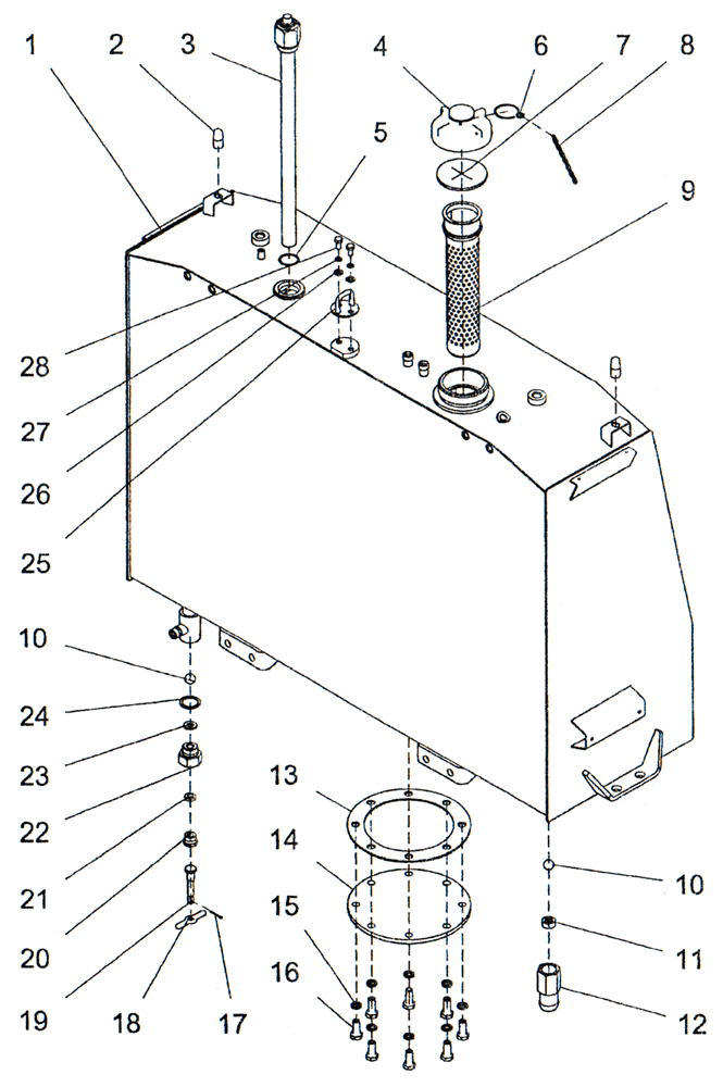
ПК46.31.01.000 Бак топливный ПК46
Поз. Обозначение Наименование Кол. Масса
1 ПК46.31.01.100 Бак топливный 1 85,51
2 Буфер 2108-8402214-01 2 0,007
3 Датчик уровня топлива ДТ7.2-720 РИВП.453845 ТУ 1 0,08
4 ПК46.31.01.030 Пробка в сборе 1 1,177
5 Кольцо 032-036-25-2-3 ГОСТ 18829-73 / ГОСТ 9833-73 1 0,001
6 КБ11.31.01.111 Кольцо 1 0,006
7 КБ11.31.01.112 Прокладка 1 0,04
8 Цепь 1А-2,5х9 ТУ 3148-018-00235424-00 1 0,013
9 ПК46.43.15.030 Фильтр 1 0,537
10 Шарик 18-60 ГОСТ 3722-81 2 0,024
11 ПК46.43.15.013 Шайба 1 0,027
12 ПК46.43.15.011 Штуцер 1 0,383
13 ПК48.31.01.009 Прокладка 1 0,063
14 ПК46.31.01.008 Крышка 1 2,324
15 Шайба 12.65Г.019 ГОСТ 6402-70 8 0,003
16 Болт M12-6g×30.58.019(S18) ГОСТ 7798-70 8 0,044
17 Шплинт 2,5×20.019 ГОСТ 397-79 1 0,001
18 КБ11.31.01.109 Ручка краника 1 0,023
19 КБ11.31.01.103 Упор 1 0,056
20 КБ11.31.01.104 Штуцер 1 0,029
21 КБ11.31.01.107 Прокладка 1 0,001
22 КБ11.31.01.102 Штуцер 1 0,189
23 КБ11.31.01.106 Прокладка 1 0,001
24 КБ11.31.01.105 Прокладка 1 0,001
25 ПК46.31.01.040 Скоба 1 0,077
26 Шайба С8.02.019 ГОСТ 11371-78 2 0,002
27 Шайба 8.65Г.019 ГОСТ 6402-70 2 0,001
28 Болт М8-6g×16.58.019(S13) ГОСТ 7798-70 2 0,012
Общий вес, кг 100
Бак топливный