Запасные части ЧТЗ Запасные части ЧТЗ
Архангельск
Например:
Актобе
Алдан
или
Выбрать автоматически
Актобе
Алдан
Алматы
Алчевск
Архангельск
Астана
Астрахань
Атырау
Баку
Балашиха
Барнаул
Белгород
Бердянск
Бишкек
Владивосток
Владикавказ
Воркута
Воронеж
Горловка
Грозный
Донецк
Екатеринбург
Иваново
Ижевск
Иркутск
Казань
Калининград
Каменск-Уральский
Караганда
Каховка
Кемерово
Киров
Комсомольск-на-Амуре
Костанай
Краснодар
Красноярск
Красный луч
Ленск
Луганск
Магадан
Магнитогорск
Макеевка
Махачкала
Мелитополь
Минск
Мирный (Якутия)
Москва
Мурманск
Нерюнгри
Нижневартовск
Нижний Новгород
Нижний Тагил
Новая каховка
Новокузнецк
Новосибирск
Новый Уренгой
Норильск
Ноябрьск
Нур-Султан
Омск
Оренбург
Ош
Павлодар
Пермь
Петрозаводск
Петропавловск
Петропавловск-Камчатский
Псков
Ростов-на-Дону
Салехард
Самара
Санкт-Петербург
Саратов
Севастополь
Семей
Симферополь
Сочи
Ставрополь
Сургут
Сыктывкар
Тараз
Ташкент
Токмак
Томск
Тында
Тюмень
Ульяновск
Усинск
Усть-Каменогорск
Уфа
Хабаровск
Ханты-Мансийск
Херсон
Челябинск
Чита
Шымкент
Экибастуз
Энергодар
Южно-Сахалинск
Якутск
Ваш город
Архангельск
Войти
Запасные части к тракторам на одном сайте
+7 (932) 303-00-10
+7 (932) 303-00-10
г. Архангельск, Талажское шоссе, д. 4
Пн-Пт: 9:30-18:30 Cб-Вс: Выходной
Отправить заявку


Планетарный механизм поворота на ДЭТ-320


/
с НДС 20%
Описание
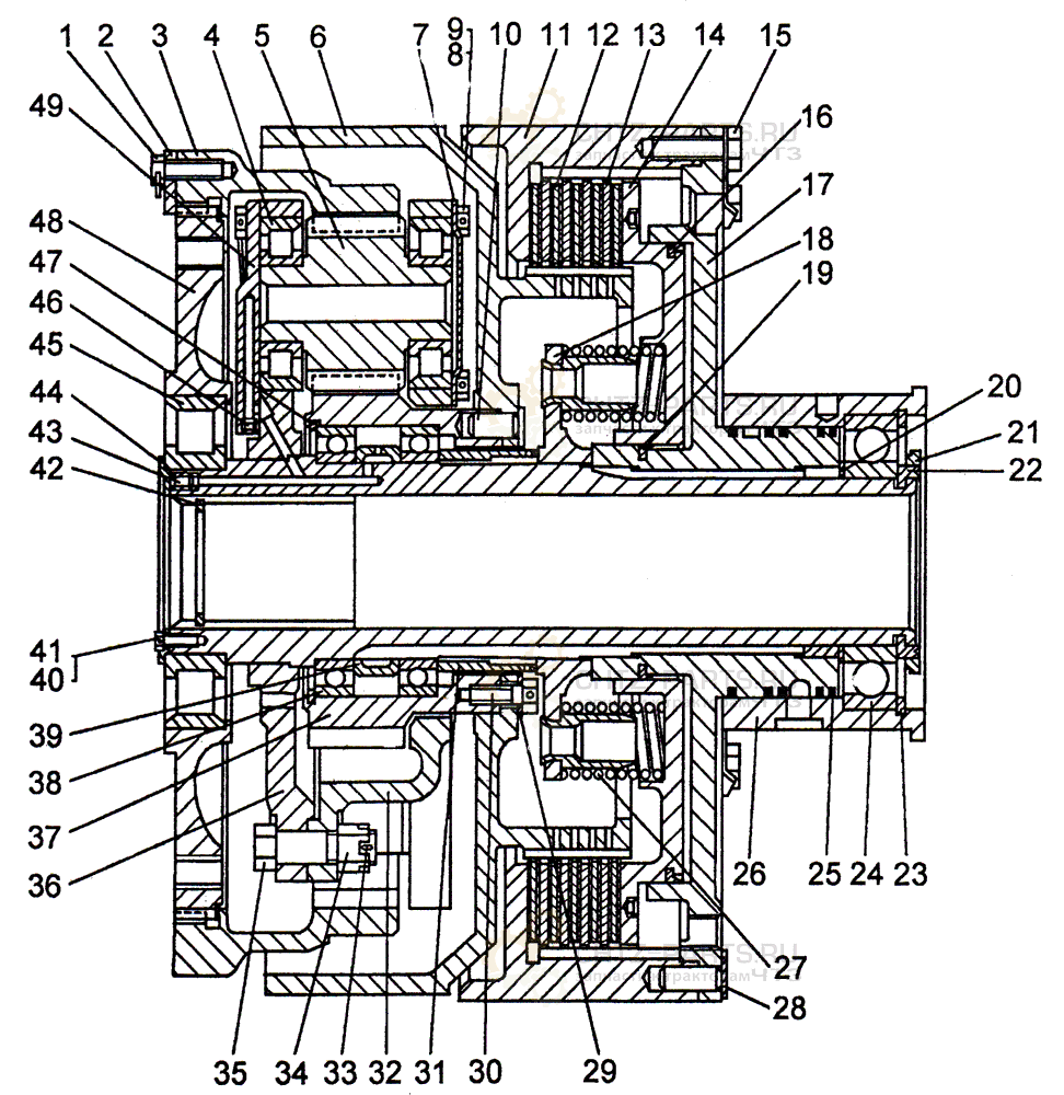
Планетарный механизм поворота ДЭТ-320
Поз. Обозначение Наименование Кол.
748-16-161СП;
748-16-162СП
Планетарный механизм поворота
1 700-28-2342 Болт 12
2 748-16-167 Планка 6
3 748-16-165 Колесо зубчатое 1
4 - Подшипник 12308ЛМ 8
5 748-16-110 Сателлит 4
б 748-16-103 1 Барабан 1
7 748-16-127 Крышка 4
8 700-28-2036 Болт 32
9 - Проволока КО 1,4 4,1 M
10 700-32-2213 1, 2 Штифт 12
11 748-16-70 2 Барабан 1
12 748-16-102СП Диск 5
13 748-16-23 Диск 4
14 748-16-67 Диск нажимной 1
15 700-28-2343 2;
700-28-2343-01
Болт 12
16 748-16-57 Манжета 1
17 748-16-111СП 2 Фланец 1
18 748-16-103СП Водило пружин 1
19 748-16-22 Манжета 1
20 748-16-62 Кольцо 1
21 748-16-17 Кольцо замковое 1
22 748-16-16 Кольцо разрезное 2
23 700-39-57 Кольцо стопорное 1
24 - Подшипник 218 8
25 748-16-19 Кольцо уплотнительное 5
26 748-16-118СП 3;
748-16-119СП 4
Стакан 1
27 700-38-383 5 Пружина 12
28 748-16-122 2 Планка стопорная 6
29 748-16-26 Шайба 1
30 700-28-2341 1 Болт 6
31 748-16-27 Втулка распорная 1
32 748-16-107 6 Водило 1
33 - Шплинт 4×36.019 6 8
34 - Гайка 2M16×1,5-7Н.6 6 8
35 700-28-234 6 Болт 8
36 748-16-160СП 6 Водило 1
37 748-16-108 1 Шестерня солнечная 1
38 - Подшипник 1000921 2
39 748-16-111 Втулка распорная 1
40 700-35-2124 Винт 4
41 - Проволока КО 1,6 2 M
42 700-58-2400 6 Кольцо 1
43 - Винт BM8-8g×12.14H 6 4
44 748-16-114 Крышка 1
45 - Подшипник 2220К 1
46 - Винт BM6-6g×8.14H 4
47 700-39-55 Кольцо стопорное 1
48 748-16-166 Фланец 1
49 748-16-162 Крышка 4
1 Заказывать комплект 748-16-145СП.
2 Заказывать комплект 748-16-144СП.
3 Входит в 748-16-162СП.
4 Входит в 748-16-161СП.
5 Заказывать комплект из 12 штук.
6 Заказывать комплект 748-16-165СП.
Планетарный механизм поворота