Запасные части ЧТЗ Запасные части ЧТЗ
Архангельск
Например:
Актобе
Алдан
или
Выбрать автоматически
Актобе
Алдан
Алматы
Алчевск
Архангельск
Астана
Астрахань
Атырау
Баку
Балашиха
Барнаул
Белгород
Бердянск
Бишкек
Владивосток
Владикавказ
Воркута
Воронеж
Горловка
Грозный
Донецк
Екатеринбург
Иваново
Ижевск
Иркутск
Казань
Калининград
Каменск-Уральский
Караганда
Каховка
Кемерово
Киров
Комсомольск-на-Амуре
Костанай
Краснодар
Красноярск
Красный луч
Ленск
Луганск
Магадан
Магнитогорск
Макеевка
Махачкала
Мелитополь
Минск
Мирный (Якутия)
Москва
Мурманск
Нерюнгри
Нижневартовск
Нижний Новгород
Нижний Тагил
Новая каховка
Новокузнецк
Новосибирск
Новый Уренгой
Норильск
Ноябрьск
Нур-Султан
Омск
Оренбург
Ош
Павлодар
Пермь
Петрозаводск
Петропавловск
Петропавловск-Камчатский
Псков
Ростов-на-Дону
Салехард
Самара
Санкт-Петербург
Саратов
Севастополь
Семей
Симферополь
Сочи
Ставрополь
Сургут
Сыктывкар
Тараз
Ташкент
Токмак
Томск
Тында
Тюмень
Ульяновск
Усинск
Усть-Каменогорск
Уфа
Хабаровск
Ханты-Мансийск
Херсон
Челябинск
Чита
Шымкент
Экибастуз
Энергодар
Южно-Сахалинск
Якутск
Ваш город
Архангельск
Войти
Запасные части к тракторам на одном сайте
+7 (932) 303-00-10
+7 (932) 303-00-10
г. Архангельск, Талажское шоссе, д. 4
Пн-Пт: 9:30-18:30 Cб-Вс: Выходной
Отправить заявку


Гидравлическая система управления на Т-170


/
с НДС 20%
Описание
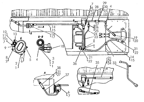
Гидравлическая система управления трактором Т-170
Поз.НаименованиеАртикулКол-во в сборке
0Гидравлическая система управления трактором50-56-16СП1
0Гидравлическая система управления трактором болотоходной модели50-56-16-01СП1
0Гидравлическая система управления трактором погрузчиком50-56-16-02СП1
1ГайкаМ10Х6.0194
2Шайба10ОТ65Г095
3Шайба31971
4Хомут2611153
4Хомут червячный «Норма»SGT32-50/94
5Прокладка700-40-77901
6БолтМ8Х25.88.0198
7Шайба8Т65Г0910
8БолтМ10Х45.58.0191
9Кольцо 700-40-74151
10Болт700-28-21762
11Штуцер700-41-34141
12Кольцо 700-40-21351
13Муфта угловая 21-56-441
14Рукав 1650-26-485-06СП1
15Рукав 16 для тропиков50-26-485-07СП2
16Насос НШ-32У-3Л1
17НасосНШ32У2Л1
18Болт700-28-23811
19Кольцо 26116445
20Штуцер700-41-25752
21Кольцо 4091012
22Болт полый700-41-33063
23Труба50-56-128СП1
24Труба50-56-107СП1
25Хомут700-41-2228СП2
26Рукав700-46-21221
27Хомут червячный "Норма"SGT2540/92
28Труба50-56-169СП1
29Хомут700-41-2224СП4
30Рукав700-46-21422
30Рукав700-46-21422
32Труба50-56-129СП1
32Труба50-56-129СП1
33Труба50-56-163СП1
34Рукав (для болотоходных тракторов)700-46-21571
35Труба48-56-110СП1
36Угольник 50-56-109СП1
37Труба50-56-132СП1
38Рукав700-46-22341
Гидравлическая система управления